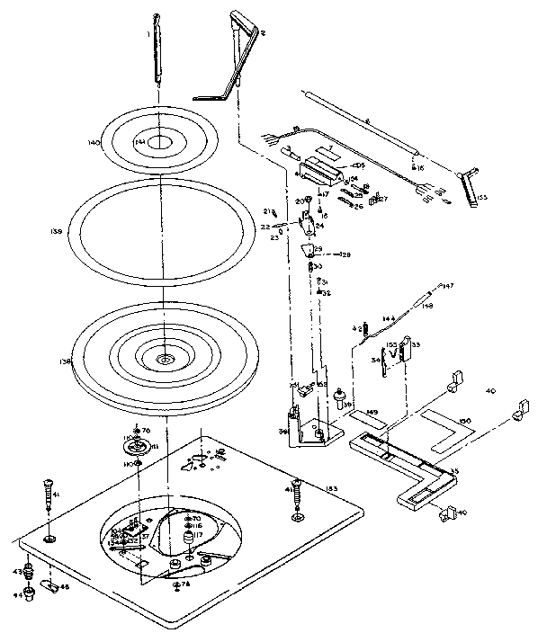
42 parts of a record player diagram
Great deals on Zenith Record Player & Turntable Parts. It's a great time to upgrade your home theater system with the largest selection at eBay.com. Fast & Free shipping on many items! Knowing the functions of each record player component makes it easy to diagnose problems and figure out which part needs repairing or replacing. Parts Of A Turntable Record Player: The Six Major Components. These are the six major parts of a record player, although the final two are not included in many models.
But technically, the turntable is merely the circular part of the record player where the record is placed. Sometimes referred to as a "revolving platter," the turntable is composed of two parts: Plate - This is the part that spins so that records rested on top spin with it. Plates are usually made of metal.

Parts of a record player diagram
Before the 1970s -- before the invention of tapes, compact discs and MP3 players-- people listened to recorded music on record players.There was no fast forward, rewind or shuffle. Instead, you chose an album and enjoyed about 25 minutes of music by one artist before flipping it over for more or putting another record on the turntable. VICTOR VICTROLA Phonograph Parts Pair Door Knobs $34.95 ( Bids) Time Remaining: 19d 23h 59m Buy It Now for only: $34.95: Victor Victrola VV X1 Wind Up Phonograph Record Player Console Parts or Repair $129.99 ( Bids) Time Remaining: 15h 6m Buy It Now for only: $129.99: RCA VV 300 Victor Victrola Talking Machine Phonograph Parts TONE ARM REST HOLDER First of all I want to say a Record Player is a great project! I built a Record Player using VEX components my freshman year of high school and thought it was a really fun way to better understand the components of a Record Player. I am currently working on building a Record Player that uses motors that are more widely available.
Parts of a record player diagram. 1-16 of over 1,000 results for "record player parts" 4 Pack Ruby Record Player Needle Turntable Stylus Replacement for ION Jenson Crosley Victrola Sylvania Turntable Phonograph LP Vinyl Player More brand. 4.6 out of 5 stars 1,649. $7.99 $ 7. 99. Get it as soon as Fri, Nov 26. Garrard DD 75 Direct Drive Turntable record player phonograph 4 Parts or Repair. $125.00 ( Bids) Time Remaining: 20d 15h 41m. Buy It Now for only: $125.00. Garrard lab series turntable 4 PARTS MULTIPLE PLAY SPINDLE ADAPTER LOT. $35.00 ( Bids) Time Remaining: 26d 15h 2m. Buy It Now for only: $35.00. The Anatomy of a Turntable. A. Platter is the rotating part of the turntable on which the vinyl is placed. The heavier a platter, the less vibration it makes. B. Mat, also called a slip mat. This provides a soft surface for the record to rest on and also grips it while spinning. 38 Parts Of A Record Player Diagram; 40 1999 Chevy Silverado Trailer Wiring Diagram; 3 Scotts S2046 Parts Diagram; 41 4 Way Valve Diagram; 39 2008 Dodge Avenger Serpentine Belt Diagram; 41 Free Body Diagram Solver; 42 Electrical Service Entrance Diagram; 37 V Diagram Systems Engineering;
A phonograph, in its later forms also called a gramophone (as a trademark since 1887, as a generic name in the UK since 1910) or since the 1940s called a record player, is a device for the mechanical and analogue recording and reproduction of sound.The sound vibration waveforms are recorded as corresponding physical deviations of a spiral groove engraved, etched, incised, or impressed into the ... In this video I explain the operation of a vintage BSR based record player, with a focus on the autochanger mechanism that automatically selects between 10 a... Turntable Anatomy: An interactive guide to the key parts of a record player. Written by VF Team. Published on August 14, 2015. Category Features. Share 0 0 0 0. Share 0 0 0 0, Hover on the illustration above to explore our interactive guide to all the nooks and crannies of a turntable. Using the beloved Technics SL-1200 as a benchmark, our ... In order to listen to vinyl records, of course, you require a turntable or record player. If you already have one, but it is not working, it can be difficult to find replacement repair parts. There are not many stores these days that repair vintage record players, sell replacement parts or offer the best new stereo turntables.
Pre World War II and later record changers and cutters listed below are published service data from various service publishers and vintage sources*. Each service manual is individually digitized in high resolution to provide the clearest possible scan in a downloadable, printable, Adobe PDF file. Many of these early Record Changer and Record ... RCA Diagrams, Schematics and Service Manuals - download for free! Including: 1 rca c10 radiotron manual, audio rca ba 1a two stage preamp schematic, mi9377 new , mi12246 new , rca 2cw4 6cw4 13cw4 nuvistor, rca 2t51 sams 111 11, rca 5t1 amsw radio service manual, rca 6cw4 nuvistor an 191, rca 6ds4 2ds4 nuvistor, rca 6l6pp, rca 6l6pp schematic, rca 6t2 6k2, rca 6t71 sams 113 7, rca 6v6pp, rca ... The most common stylus shape is the conical or spherical stylus, which typically measures 0.7 mil (.0007 x .0007 inch) in diameter. It is the cheapest of the stylus shapes to produce, and is typically found on modern ceramic and budget moving magnet cartridges as well as DJ cartridges as it's the best tip for scratching. Record Player and Turntable AC Cords and Assemblies. Click on one of the links below to bring up order details and color choices: CordA. Six foot non polar 18 gauge power cord with Amplok connector (photo, top left) CordB. Six foot non polar 18 gauge power cord with Molex connector (photo, top left center). VM21942-8.
Record Player, Reel to Reel, 8-Track, Turntable & Tape Deck Parts Tool. To Find Parts by Model, Select Your Player's Make. With our flagship tool, just choose your make and model to see common parts we have listed for your player. We specialize in the most commonly needed consumable parts such as rubber drive belts, cartridges and record ...
Phonograph, also called a record player, instrument for reproducing sounds by means of the vibration of a stylus, or needle, following a groove on a rotating disc. The invention of the phonograph is generally credited to Thomas Edison (1877). Learn more about phonographs in this article.
REPLACEMENT PARTS. Great Lakes Antique Phonographs has one of the world's largest inventories of original and reproduction phonograph parts and accessories.This catalog is a work in progress - cataloging our vast inventory is a tremendously time-consuming process, but we are striving to create a comprehensive online catalog that is easy to ...
I have been trying to find a circuit diagram for a simple transistor based record player that is easy to build but have found it to be a very difficult task. When I was younger I had a portable record player from the 1970's but it got stolen, and now I just want to build a new one. Please help!
Turntable tonearm socket connector SME type Record Player parts. $ 39 95 $ 39.95. Audio-Technica 1/2" Turntable Phono Mount CN5625AL Replacement Cartridge / Record Player. $ 37 95 $ 37.95. GEMINI CN-15 CN-15 Stereo Cartridge & Stylus. $ 33 94 $ 33.94. GEMINI TL-15 TL-15 Target Light. $ 25 61 $ 25.61.
Parts of a Turntable - The Cartridge. The cartridge is the most debatable as being included as one of the parts of a turntable. Many turntable manufacturers shipped their record players with third party cartridges by companies such as Shure and Ortofon, as cartridge design is traditionally a different science altogether.
Each "part" in your record project (the term "part" meaning the separate components - records, jackets, inserts, etc) may have different scrap rates. So, after final assembly/inspection, there may be plenty of good records done, but jacket scrap was a bit higher than normal, so there are more records than jackets.
Modern record players use electromagnetic devices to convert sound vibrations from a spinning record into electrical signals, which are then fed to an electronic amplifier that powers loudspeakers or headphones, making the sound much louder. So a modern record player is a mixture of mechanical and electromagnetic technology.
WCS-2 Replacement Part WCS-2 Record Cleaning Machine This is the correct factory wand and spring for the WCS-2 System. WCS-2 Vacuum Record Cleaning Machine Replacement Wand & Spring : $ 29.88 EACH. FREE SHIPPING on MUSIC HALL parts & accessory orders of $149.00 or more. This offer is only valid within the Continental United States.
The Turntable. Although "turntable" and "record player" today are used almost interchangeably, a turntable is technically the part of the record player and it's where the record sits. Sometimes the turntable is also called the "revolving platter." The center of the turntable includes a metal rod, holding the record in the center as it turns.
The angular speed of a record player is 33 rotations per minute. It has a diameter of 12 inches (0.305m). ... record Force Diagram 2 2 2 2 2 2 158 / 0.5 4( 1) m s T r r r v a T r c S r S F T F N F F ma T ... At the speed found in part d) how heavy would the passenger feel at the top of the Ferris wheel (this is the normal force)?
First of all I want to say a Record Player is a great project! I built a Record Player using VEX components my freshman year of high school and thought it was a really fun way to better understand the components of a Record Player. I am currently working on building a Record Player that uses motors that are more widely available.
VICTOR VICTROLA Phonograph Parts Pair Door Knobs $34.95 ( Bids) Time Remaining: 19d 23h 59m Buy It Now for only: $34.95: Victor Victrola VV X1 Wind Up Phonograph Record Player Console Parts or Repair $129.99 ( Bids) Time Remaining: 15h 6m Buy It Now for only: $129.99: RCA VV 300 Victor Victrola Talking Machine Phonograph Parts TONE ARM REST HOLDER
Before the 1970s -- before the invention of tapes, compact discs and MP3 players-- people listened to recorded music on record players.There was no fast forward, rewind or shuffle. Instead, you chose an album and enjoyed about 25 minutes of music by one artist before flipping it over for more or putting another record on the turntable.
Comments
Post a Comment